
成果介绍:具有无摩擦传递、柔性好,动态响应好、体积小且加工装配简便等优点。
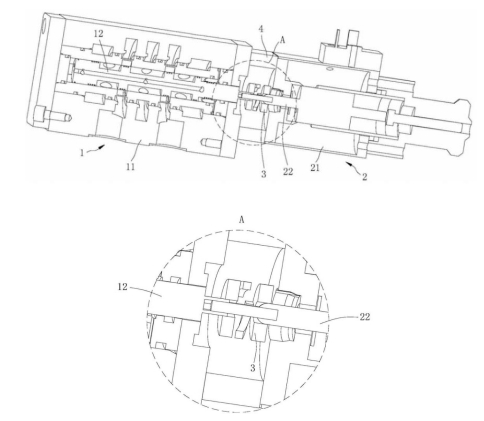
核心技术:构造了一种带传递轴弹性压扭联轴 器型半桥式 2D 电液比例换向阀,包括换向阀与旋转比例电磁铁;所述换向阀包括阀体,以及安装在所述阀体内的阀芯;所述旋转比例电磁铁包括壳体,以及安装在所述壳体内的转子; 所述 2D 电液比例换向阀还包括用于连接所述换向阀与所述旋转比例电磁铁的压扭联轴器;所述压扭联轴器包括与所述阀芯固定连接的第一连接部、与所述转子固定连接的第二连接 部、连接在所述第一连接部与所述第二连接部之间的第一弹性螺旋件与第二弹性螺旋件, 以及传递轴;所述阀芯、所述第一连接部、所述第二连接部、所述传递轴,以及所述转子均同 轴设置;所述第一连接部、所述第二连接部、所述第一弹性螺旋件、所述第二弹性螺旋件以及所述传递轴为一体化结构。
项目优势:采用带传递轴的压扭联轴器的结构,当旋转比例电磁铁得电,转子的旋转运动一方面通过传递轴使阀芯旋转,另一方面通过第一弹性螺旋件与第二弹性螺旋件使阀芯旋转,阀芯两端压差使阀芯移动,第一弹性螺旋件与第二弹性螺旋件产 生轴向错位距离将产生一定的复位扭矩,使第一连接部旋转回初始角度,重新达到平衡;再 者,采用带传递轴的压扭联轴器具有无摩擦传递、柔性好,动态响应好、体积小且加工装配 简便等优点。
应用领域:电液比例控制系统领域。


上一篇新闻: 白车身焊点疲劳分析模块
下一篇新闻: 基于海底斜坡场地锚板基础的抗拔力测量装置及测量方法
地址:山东省济南市历下区
电话:0531-68802375
邮箱:qyyjh2022@163.com

Copyright © 2024 山东省企业高质量发展研究会 版权所有